加入收藏 | 设为首页 | 会员中心 | 我要投稿 | RSS
北京
上海
天津
重庆
江苏
江西
湖南
湖北
河南
河北
广东
广西
山东
山西
海南
黑龙江
浙江
安徽
福建
四川
贵州
陕西
辽宁
吉林
甘肃
宁夏
青海
西藏
新疆
内蒙
云南
港澳台



供应京津冀地区PC构件[例]
供应全国ALC条板[例]
装配式模具生产与设计[例]
预制构件灌浆套筒等辅材[例]
塔吊吊车租赁[例]
供应京津冀地区PC构件[例]
供应全国ALC条板[例]
装配式模具生产与设计[例]
预制构件灌浆套筒等辅材[例]
塔吊吊车租赁[例]

您当前的位置:首页 > 筑傲学院 > 施工技术

很全面的脚手架安全技术规范详解(图文解析)

时间:2020-07-29 10:08:55  来源:互联网

扣件式钢管脚手架是我们日常施工中常用的工具,而在建筑施工安全管理中,脚手架工程的安全管理也占有很大的比重,保证脚手架体系的施工安全是施工现场安全管理的重要工作之一。g1L筑傲网-装配式建筑专业网站平台

1、构配件

1.钢管: 脚手架钢管宜采用Φ48.3×3.6钢管(方案据实计算)。每根钢管的最大质量不应大于25.8kg。g1L筑傲网-装配式建筑专业网站平台

2.脚手板:脚手板可采用钢、木、竹材料制作,单块脚手板的质量不宜大于30kg,木脚手板厚度不应小于50mm,两端应采用直径为4mm的镀锌钢丝各设两道箍。g1L筑傲网-装配式建筑专业网站平台

3.扣件:分为旋转、直角、对接扣件,扣件在螺栓拧紧扭力达到65N· m时,不得发生破环。g1L筑傲网-装配式建筑专业网站平台

4.悬挑脚手架用型钢:型钢悬挑梁宜采用双轴对称截面的型钢,钢梁截面高度不应小于不应小于160mm。g1L筑傲网-装配式建筑专业网站平台

2、纵向水平杆g1L筑傲网-装配式建筑专业网站平台

1.纵向水平杆应设置在立杆内侧,单根杆长度不应小于3跨(如下图2.1);g1L筑傲网-装配式建筑专业网站平台

2.纵向水平杆接长应采用对接扣件连接或搭接,并应符合下列规定:g1L筑傲网-装配式建筑专业网站平台

(1)两根相邻纵向水平杆的接头不应设置在同步或同跨内;不同步或不同跨两个相邻接头在水平方向错开的距离不应小于500mm;各接头中心至最近主节点的距离不应大于纵距的1/3(如下图2.2)。g1L筑傲网-装配式建筑专业网站平台

(2)搭接长度不应小于1m,应等间距设置3个旋转扣件固定;端部扣件盖板边缘至搭接纵向水平杆杆端的距离不应小于100mm。g1L筑傲网-装配式建筑专业网站平台

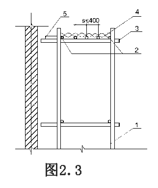
3.当使用钢芭网片脚手板时,纵向水平杆应采用直角扣件固定在横向水平杆上(纵向水平杆在上,横向水平杆在下),并应等间距设置填心芯杆,间距不应大于400mm(如图2.3)。g1L筑傲网-装配式建筑专业网站平台

当使用冲压钢脚手板、木脚手板、竹串片脚手板时,纵向水平杆应作为横向水平杆的支座,用直角扣件固定在立杆上(纵向水平杆在下,横向水平杆在上)(如图2.4)。g1L筑傲网-装配式建筑专业网站平台

3、横向水平杆g1L筑傲网-装配式建筑专业网站平台

1.作业层上非主节点处的横向水平杆,宜根据支承脚手板的需要等间距设置,最大间距不应大于纵距的1/2;g1L筑傲网-装配式建筑专业网站平台

2.当使用冲压钢脚手板、木脚手板、竹串片脚手板时,双排脚手架的横向水平杆两端均应采用直角扣件固定在纵向水平杆上(纵向水平杆在下,横向水平杆在上);g1L筑傲网-装配式建筑专业网站平台

3.当使用钢芭网片脚手板时,双排脚手架的横向水平杆的两端,应用直角扣件 固定在立杆上(纵向水平杆在上,横向水平杆在下);g1L筑傲网-装配式建筑专业网站平台

4.主节点处必须设置一根横向水平杆,用直角扣件扣接且严禁拆除。横向水平杆伸出扣件盖板不应小于100mm,且不宜大于200mm。g1L筑傲网-装配式建筑专业网站平台

4、脚手板g1L筑傲网-装配式建筑专业网站平台

1.作业层脚手板应铺满、铺平、铺稳、铺实;g1L筑傲网-装配式建筑专业网站平台

2.冲压钢脚手板、木脚手板、竹串片脚手板等,应设置在三根横向水平杆上。当脚手板长度小于2m时,可采用两根横向水平杆支承,但应将脚手板两端与横向水平杆可靠固定,严禁倾翻。脚手板的铺设应采用对接平铺或搭接铺设。脚手板对接平铺时,接头处应设两根横向水平杆,脚手板外伸长度应取130mm~150mm,两块脚手板外伸长度之和不应大于300mm;脚手板搭接平铺时,接头应支在横向水平杆上,搭接长度不应小于200mm,其伸出横向水平杆的长度不应小于100mm。(如图4.1)g1L筑傲网-装配式建筑专业网站平台

3.脚手架内立杆与建筑物距离不宜大于150mm;当距离大于150mm时,应采取封闭防护措施。g1L筑傲网-装配式建筑专业网站平台

 g1L筑傲网-装配式建筑专业网站平台

5、立杆g1L筑傲网-装配式建筑专业网站平台

1.每根立杆底部宜设置底座或垫板,垫板板厚应不小于50mm,板宽不小于200mm,板长不小于两跨。g1L筑傲网-装配式建筑专业网站平台

2.脚手架必须设置纵、横向扫地杆。纵向扫地杆应采用直角扣件固定在距钢管底端不大于 200mm处的立杆上。横向扫地杆应采用直角扣件固定在紧靠纵向扫地杆下方的立杆上。g1L筑傲网-装配式建筑专业网站平台

3.脚手架立杆基础不在同一高度上时,必须将高处的纵向扫地杆向低处延长两跨与立杆固定,高低差不应大于1m。靠边坡上方的立杆轴线到边坡的距离不应小于500mm(如下图5.1)。g1L筑傲网-装配式建筑专业网站平台

4.单、双排脚手架底层步距均不应大于2m。g1L筑傲网-装配式建筑专业网站平台

5.单排、双排与满堂脚手架立杆接长除顶层顶步外,其余各层各步接头必须采用对接扣件连接;脚手架立杆顶端栏杆宜高出女儿墙上端 1m,宜高出檐口上端1.5m。g1L筑傲网-装配式建筑专业网站平台

6.脚手架立杆的对接、搭接应符合下列规定:g1L筑傲网-装配式建筑专业网站平台

(1)当立杆采用对接接长时,立杆的对接扣件应交错布置,两根相邻立杆的接头不应设置在同步内,同步内隔一根立杆的两个相隔接头在高度方向错开的距离不宜小于500㎜;各接头中心至主节点的距离不宜大于步距的1/3(如下图5.2);g1L筑傲网-装配式建筑专业网站平台

(2)当立杆采用搭接接长时,搭接长度不应小于 1m,并应采用不少于2个旋转扣件固定。端部扣件盖板的边缘至杆端距离不应小于 100mm。(如图5.3)g1L筑傲网-装配式建筑专业网站平台

 

6、连墙件g1L筑傲网-装配式建筑专业网站平台

1.脚手架连墙件设置的位置、数量应按专项施工方案确定。g1L筑傲网-装配式建筑专业网站平台

2.脚手架连墙件数量的设置除应满足本规范的计算要求外,还应符合下表的规定。g1L筑傲网-装配式建筑专业网站平台

3.连墙件的布置应符合下列规定:g1L筑傲网-装配式建筑专业网站平台

(1)应靠近主节点设置,偏离主节点的距离不应大于300mm;g1L筑傲网-装配式建筑专业网站平台

(2)应从底层第一步纵向水平杆处开始设置,当该处设置有困难时,应采用其它可靠措施固定;g1L筑傲网-装配式建筑专业网站平台

(3)应优先采用菱形布置,或采用方形、矩形布置。g1L筑傲网-装配式建筑专业网站平台

(4)开口型脚手架的两端必须设置连墙件,连墙件的垂直间距不应大于建筑物的层高,并且不应大于4m(如图6.1)。g1L筑傲网-装配式建筑专业网站平台

(5)连墙件中的连墙杆应呈水平设置,当不能水平设置时,应向脚手架一端下斜连接。g1L筑傲网-装配式建筑专业网站平台

(6)连墙件必须采用可承受拉力和压力的构造。对高度 24m 以上的双排脚手架,应采用刚性连墙件与建筑物连接。g1L筑傲网-装配式建筑专业网站平台

(7)当脚手架下部暂不能设连墙件时应采取防倾覆措。当搭设抛撑时,抛撑应采用通长杆件,并用旋转扣件固定在脚手架上,与地面的倾角应在45º~60º;连接点中心至主节点的距离不应大于300mm。抛撑宜每隔6跨设置一道,抛撑应在连墙件搭设后再拆除(如图6.2)。g1L筑傲网-装配式建筑专业网站平台

 

7、剪刀撑与横向斜撑g1L筑傲网-装配式建筑专业网站平台

1.双排脚手架应设置剪刀撑与横向斜撑,单排脚手架应设置剪刀撑。g1L筑傲网-装配式建筑专业网站平台

2.单、双排脚手架剪刀撑的设置应符合下列规定:g1L筑傲网-装配式建筑专业网站平台

(1)每道剪刀撑跨越立杆的根数应按下表的规定确定。每道剪刀撑宽度不应小于4跨,且不应小于6m,斜杆与地面的倾角应在45°~60°;g1L筑傲网-装配式建筑专业网站平台

(2)剪刀撑斜杆的接长应采用搭接或对接;搭接接长时,搭接长度不应小于 1m ,并应采用不少于 2 个旋转扣件固定。端部扣件盖板的边缘至杆端距离不应小于 100mm(详见JGJ130)。实际现场施工一般均采用搭接形式,且不少于3个扣件。g1L筑傲网-装配式建筑专业网站平台

(3)剪刀撑斜杆应用旋转扣件固定在与之相交的横向水平杆的伸出端或立杆上,旋转扣件中心线至主节点的距离不应大于150mm(如图7.1)。g1L筑傲网-装配式建筑专业网站平台

3.高度在 24m 及以上的双排脚手架应在外侧全立面连续设置剪刀撑;高度在24m以下的单、双排脚手架,均必须在外侧两端、转角及中间间隔不超过15m的立面上,各设置一道剪刀撑,并应由低至顶连续设置。g1L筑傲网-装配式建筑专业网站平台

4.双排脚手架横向斜撑的设置应符合下列规定:g1L筑傲网-装配式建筑专业网站平台

(1)高度在 24m 以下的封闭型双排脚手架可不设横向斜撑,高度在24m以上的封闭型脚手架,除拐角应设置横向斜撑外,中间应每隔 6 跨距设置一道。g1L筑傲网-装配式建筑专业网站平台

(2)开口型双排脚手架的两端均必须设置横向斜撑(如图7.2)。g1L筑傲网-装配式建筑专业网站平台

 

8、型钢悬挑脚手架g1L筑傲网-装配式建筑专业网站平台

1.一次悬挑脚手架高度不宜超过20m。g1L筑傲网-装配式建筑专业网站平台

2.型钢悬挑梁宜采用双轴对称截面的型钢。悬挑钢梁型号及锚固件应按设计确定,钢梁截面高度不应小于160mm。悬挑梁尾端应在两处及以上固定于钢筋混凝土梁板结构上。锚固型钢悬挑梁的U型钢筋拉环或锚固螺栓直径不宜小于16mm。g1L筑傲网-装配式建筑专业网站平台

3.用于锚固的U型钢筋拉环或螺栓应采用冷弯成型。U型钢筋拉环、锚固螺栓与型钢间隙应用钢楔或硬木楔楔紧(如图8.1)。g1L筑傲网-装配式建筑专业网站平台

4.每个型钢悬挑梁外端宜设置钢丝绳或钢拉杆与上一层建筑结构斜拉结,如果使用钢丝绳,其直径不应小于14㎜。钢丝绳绳卡有效工作数量不少于3个,绳卡之间的排列间距一般为钢丝绳直径的6~8倍左右(不得小于6d),绳卡要一顺排列,应将U型环部分卡在绳头的一面,压板放在主绳的一面。(如图8.2)g1L筑傲网-装配式建筑专业网站平台

5.钢丝绳与建筑结构拉结的吊环应使用 HPB235级钢筋,其直径不宜小于20㎜(或计算确定)。g1L筑傲网-装配式建筑专业网站平台

6.当型钢悬挑梁与建筑结构采用螺栓钢压板连接固定时,钢压板尺寸不应小于100mm×10mm(宽×厚);当采用螺栓角钢压板连接时,角钢的规格不应小于63mm×63mm×6mm。g1L筑傲网-装配式建筑专业网站平台

7.型钢悬挑梁悬挑端应设置能使脚手架立杆与钢梁可靠固定的定位点,定位点离悬挑梁端部不应小于100mm;定位点可采用竖直焊接长 0.2m、直径25~30mm的钢筋或短管等方式(如图8.3)。g1L筑傲网-装配式建筑专业网站平台

8.锚固位置设置在楼板上时,楼板的厚度不宜小于120mm。如果楼板的厚度小于120mm 应采取加固措施。g1L筑傲网-装配式建筑专业网站平台

9.悬挑梁间距应按悬挑架架体立杆纵距设置,每一纵距设置一根。g1L筑傲网-装配式建筑专业网站平台

10.悬挑架的外立面剪刀撑应自下而上连续设置。g1L筑傲网-装配式建筑专业网站平台


来顶一下
返回首页
返回首页
发表评论 共有条评论
用户名: 密码:
验证码: 匿名发表
推荐资讯
装配式建筑单位免费登记,第一时间分享装配式项目合作讯息!
装配式建筑单位免费登
装配式建筑招投标,你都清楚吗?
装配式建筑招投标,你
重庆市首个主体结构全装配钢筋混凝土建筑投用
重庆市首个主体结构全
石家庄一建筑方案印发 要求被动房开工建设至少35万平
石家庄一建筑方案印发
购买装配式必读书籍
栏目更新
栏目热门